Sony a déposé un brevet pour une fonctionnalité qui laisserait l’IA prendre le relais si vous êtes bloqués
Publié le :
3 commentaires
Rédigé par Jordan
Même si les brevets déposés par certains constructeurs n’aboutissent souvent à rien, il est tout de même intéressant d’y jeter un œil pour voir quelles sont les pistes explorées afin de faire évoluer nos consoles et les jeux à venir. Sony n’est pas le dernier lorsqu’il s’agit de se livrer à ce genre d’exercice, surtout avec les progrès réalisés par l’IA ces derniers temps. Après avoir déposé un brevet autour d’une fonctionnalité qui pourrait prédire sur quels boutons vous allez appuyer, Sony veut maintenant utiliser l’IA pour vous prêter main forte lorsque vous vous retrouvez complétement bloqué dans un jeu.
IA, prend le volant
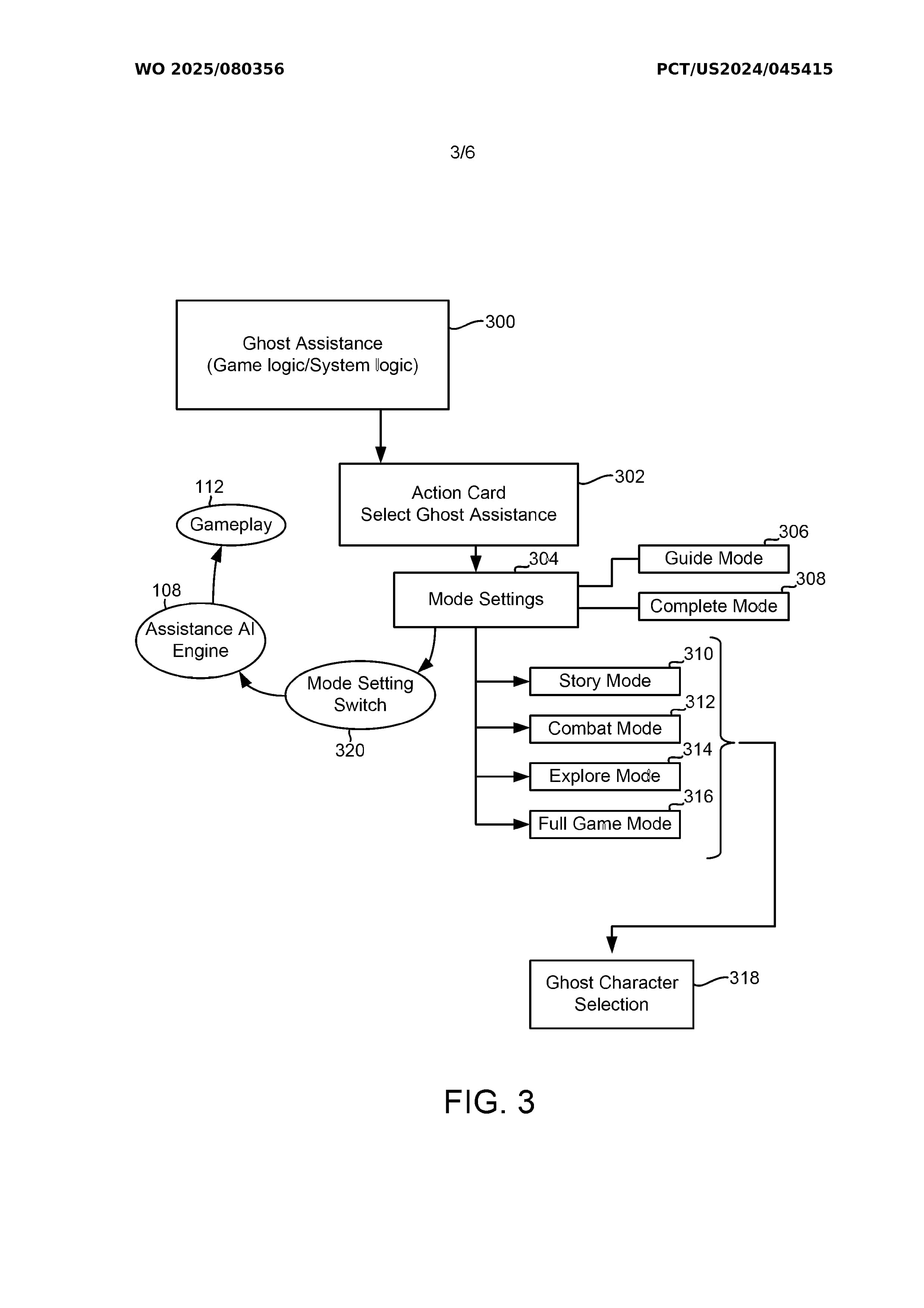
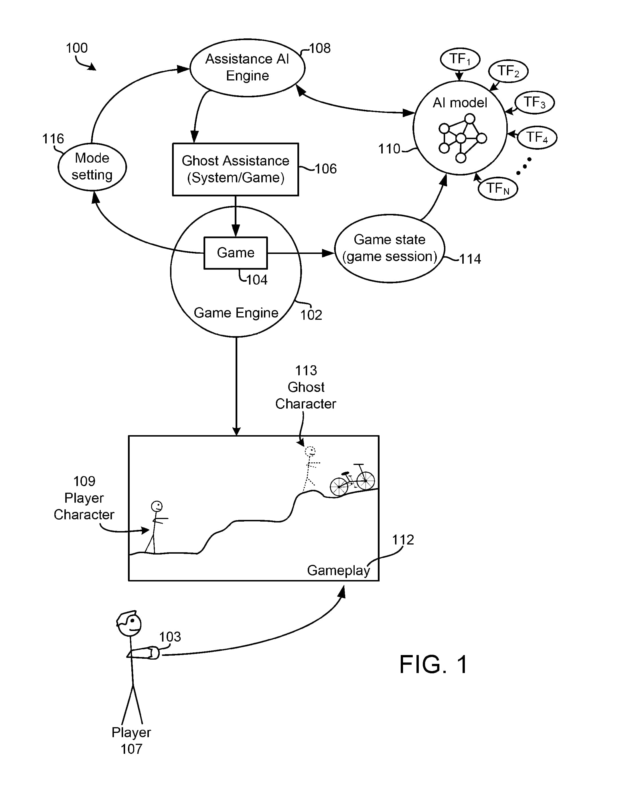
Derrière ce brevet trouvé par allaboutIA et relayé par VGC, on retrouve une fonctionnalité qui va créer un « fantôme » de votre personnage (vous avez, comme sur les jeux de courses), et qui va pouvoir vous montrer l’exemple en résolvant des puzzles (totalement à votre place ou juste en vous indiquant où aller) ou en appuyant sur une série de boutons à votre place dans le cas où vous n’arriveriez pas à passer une certaine séquence.
Ce qui, sur le plan de l’accessibilité, peut être une chose assez demandée, étant donné que certains passages peuvent être difficiles à gérer à cause de timing serré ou de combinaisons de touches complexes (et ce même avec une manette adaptée comme la Manette Access).
Si l’on est un peu pragmatique, on dira qu’il n’y a pas besoin d’inventer une technologie qui existe déjà de plusieurs manières dans certains jeux (Death Stranding 2 l’a bien fait), mais Sony veut sans doute généraliser la pratique. D’autant plus que ce ne serait pas ici au studio d’implémenter une solution, puisque l’IA se baserait sur des vidéos existantes sur le jeu. Autant dire que la pratique serait difficile à mettre en place dès la sortie d’un titre. Rien ne dit que cela sera mis en place un jour, mais l’idée est en tout cas explorée.
Cet article peut contenir des liens affiliés

